- 著名数学家陈景润,47岁娶29岁女医生,唯一的儿子现在发展怎样?
- 我国的传统数学至今,已经有5000多年的历史。然而随著西学东渐,晚清时期的统治者们,又不让普通民众接触这些西方文化,长此以往,我国的数学研究在很长一段时间都无显...
21世纪经济报道记者郭聪聪北京报道
一纸行政处罚决定,宣告了西藏金融租赁有限公司(下称"西藏金租")的终结,这家曾经创造"两年破百亿"规模奇迹的金租公司,最终因财务造假、违规经营等问题走向末路。
21世纪经济报道记者注意到,4月29日,国家金融监督管理总局西藏监管局在其官网发布的一则行政处罚信息公开表显示,西藏金租存在通过编造虚假业务等方式隐匿关联交易、部分租赁业务经营严重不审慎形成风险、报送虚假报表资料、公司治理和内部控制失效等多项违法违规行为,严重违反审慎经营规则,该局决定吊销西藏金租金融许可证。

(处罚信息公开表来源:国家金融监督管理总局西藏监管局官网)
事实上,早在2021年,西藏金租就因关联交易问题被监管警示。但此次处罚力度空前——直接吊销金融许可证,意味着这家2015年成立的金融机构将退出市场。
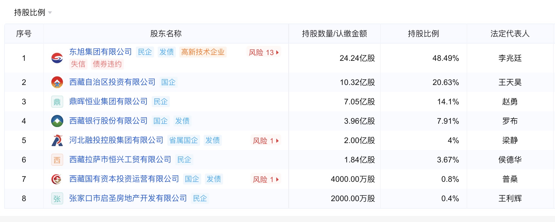
作为西藏首家也是唯一一家金融租赁公司,西藏金租诞生在中国融资租赁行业快速扩张期。该公司由东旭集团有限公司、西藏自治区投资公司、西藏自治区国有资产经营公司、西藏银行股份有限公司等企业共同出资成立,注册资本50亿元,李兆廷任董事长。

(西藏金租股东信息来源:企业预警通)
凭借政策红利和股东背景,西藏金租实现了"两年破百亿"的规模奇迹——资产规模在短短两年内突破百亿元,业务范围迅速覆盖航空、能源、基建等多个资金密集型领域。然而,在超常规发展背后往往隐藏着致命隐患,西藏金租的商业模式存在着三大结构性缺陷:
一是业务高度集中。公司大部分业务与大股东东旭集团产业链相关,这种"自融"模式虽然短期内能快速做大规模,但实质上是将金融风险与企业经营风险深度绑定,一旦企业经营出现风险,风险便会迅速扩散传导。
二是融资结构失衡。2019年数据显示,当年西藏金租负债总额 470.47亿元,其中拆入资金余额318.36亿元,显示出了其对同业拆借资金的依赖程度较高。
三是风控风险暴露。随着业务复杂度快速提升,西藏金租未能建立与之匹配的全面风险管理体系,“公司治理与内部控制失效”就被列为了本次的重点处罚信息。
信用风险、流动性风险、司法风险相互交织,为西藏金租的危机埋下伏笔。时间回溯到2019年,西藏金租当年营业收入达43.3亿元,同比增长30%,但净利润却暴跌96.14%至不足0.3亿元。这种"增收不增利"的异常现象,首次向市场发出了明确的风险信号。司法数据也显示,2019年后西藏金租涉及的司法纠纷高达153起,涉案金额约22.69亿元。这些诉讼不仅数量庞大,而且单笔金额巨大,反映出其业务风险的广泛性。
自2019年以来,西藏金租再未公开披露其经营业绩。据企业预警通,2022年度,西藏金租亏损高达19亿元。

(西藏金租经营情况来源:企业预警通)
信用评级的变化轨迹也印证了这一衰落过程。2021年1月,联合资信评估股份有限公司将西藏金租长期信用等级由A+下调至BBB,下调幅度之大在金融租赁行业实属罕见。评级报告明确指出公司面临"大股东违约、资金被占用、同业负债业务大规模逾期、流动性管理压力上升"等系统性风险。
对于金融行业而言,风险并非一朝一夕形成,而是长期积累后的集中爆发。近年来,金融监管部门持续强化对银行和非银金融机构的监管,引导其坚持功能定位、回归本源、合规发展,增强风险防范能力的同时,更好地服务实体经济。
记者注意到,为推动金融租赁行业高质量发展,金融监管部门在公司治理、股权管理、关联交易管理等方面已出台了一系列监管制度法规。特别是2024年9月,为了更好地适应金融租赁行业新形势新发展,国家金融监督管理总局修订发布《金融租赁公司管理办法》,进一步加强对金融租赁公司监管,防范金融风险,完善机构定位,优化金融服务,大力支持企业设备更新改造,促进行业高质量发展。
